德國 KGW-Isotherm,帶實驗室面法蘭的杜瓦瓶,由硼硅酸鹽玻璃 3.3 制成
帶實驗室面法蘭的杜瓦瓶
應用
實驗室設備
醫療
生物工藝學
在工廠中,需要氣密封閉的設備
使用充氣冷卻劑時,請注意 0.1 bar 的最大壓力!
標準
由硼硅酸鹽玻璃 3.3 制成,符合 ISO 3585 標準
執行
版本和附件:
C = 金屬保護涂層 藍色涂層
A = 替換玻璃(無涂層)
交付:
– 全鍍銀
-鍍銀,帶可見條紋
-非鍍銀
-縮寫

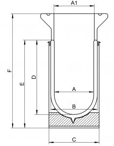
規格

類型 最大含量約 [mL] 一個 [毫米] A1 [毫米] B [毫米] C [毫米] 深 [mm] E [毫米] F [毫米] 重量約 [kg] 實驗室平法蘭 DIN 12214 NF 7 C 1200 67 57 80 90 350 395 445 1.0 西北 60 NF 8 C 1700 67 57 80 90 500 560 610 1.1 西北 60 NF 11 C 2100 77 57 95 105 345 395 445 1.8 西北 60 NF 14 C 3200 90 97 115 124 600 665 725 1.2 西北 100 NF 17 C 4000 110 97 120 130 600 660 720 1.7 西北 100 NF 19 C 5000 110 97 130 140 600 660 720 3.2 西北 100 NF-S 22 C 8000 138 147 160 165 600 660 735 4.6 西北 150 商品編號
類型 商品編號 替換玻璃 商品編號 NF 7 C 11411 NF 7 A 1141 NF 8 C 11412 帶電場 8 A 1142 NF 11 C 11413 NF 11 型 1143 NF 14 C 11414 帶電場 14 A 1144 NF 17 C 11415 NF 17 A 1145 NF 19 C 11416 NF 19 A 1146 NF S 22 C 11417 接線端子NF S 22 A 1147